Grievance Form - Kansas

Grievance Form - Kansas

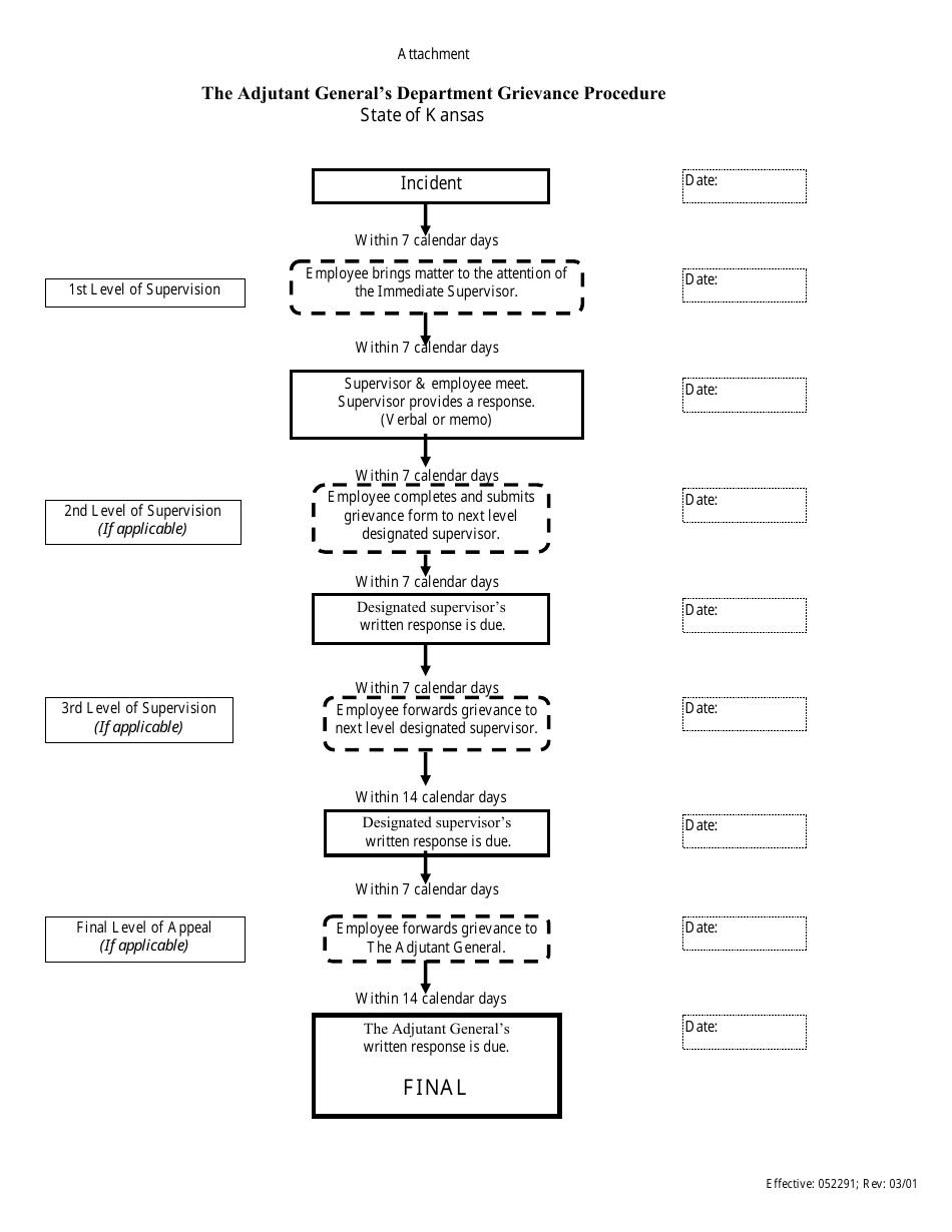
Grievance Form is a legal document that was released by the Kansas Adjutant General's Department - a government authority operating within Kansas.

FAQ

Q: What is a Grievance Form?
A: A Grievance Form is a document used to officially submit a complaint or issue.

Q: Who can use a Grievance Form in Kansas?
A: Any individual who has a complaint or issue that needs to be addressed can use a Grievance Form in Kansas.

Q: What should I include in a Grievance Form?
A: You should include detailed information about your complaint or issue, including any relevant evidence or documentation.

Q: How do I submit a Grievance Form in Kansas?
A: Follow the instructions provided on the Grievance Form to submit it to the appropriate organization or agency.

Q: What happens after I submit a Grievance Form in Kansas?
A: The organization or agency will review your complaint and take appropriate action based on their policies and procedures.

Q: Is there a deadline for submitting a Grievance Form in Kansas?
A: It is best to submit your Grievance Form as soon as possible, but there may be specific deadlines outlined by the organization or agency.

Q: Can I get assistance with filling out a Grievance Form in Kansas?
A: If you need assistance, you can reach out to the organization or agency to inquire about any available resources or support.

ADVERTISEMENT

Form Details:

  • Released on March 1, 2001;
  • The latest edition currently provided by the Kansas Adjutant General's Department;
  • Ready to use and print;
  • Easy to customize;
  • Compatible with most PDF-viewing applications;
  • Fill out the form in our online filing application.

Download a fillable version of the form by clicking the link below or browse more documents and templates provided by the Kansas Adjutant General's Department.

Download Grievance Form - Kansas

4.8 of 5 (61 votes)
  • Grievance Form - Kansas

    1

  • Grievance Form - Kansas, Page 2

    2

  • Grievance Form - Kansas, Page 3

    3

  • Grievance Form - Kansas, Page 4

    4

  • Grievance Form - Kansas, Page 1
  • Grievance Form - Kansas, Page 2
  • Grievance Form - Kansas, Page 3
  • Grievance Form - Kansas, Page 4
Prev 1 2 3 4 Next
ADVERTISEMENT